Jenn-Air Electric Wall Oven WM30460W Timer Repair

What is the timer/clock part number for the Jenn-Air WM30460W Electric Wall Oven?

Timer part number 71001799 for Jenn-Air WM30460W

The WM30460W Electric Wall Oven uses timer part number 71001799.

Do you have a failed Jenn-Air WM30460W control panel? Click here:

Request Appliance Timer Service

We can repair or replace your faulty Jenn-Air WM30460W timer.

WM30460W are also sometimes referred to using these Alternative Names/Model numbers

Maytag WM30460W Electric Wall Oven, Whirlpool WM30460W Electric Wall Oven

WM30460W Schematic and Wiring Diagrams

Control panel Parts diagram
WM30460W Electric Wall Oven Control panel Parts diagram
Body Parts diagram
WM30460W Electric Wall Oven Body Parts diagram
Internal controls Parts diagram
WM30460W Electric Wall Oven Internal controls Parts diagram
Oven Parts diagram
WM30460W Electric Wall Oven Oven Parts diagram
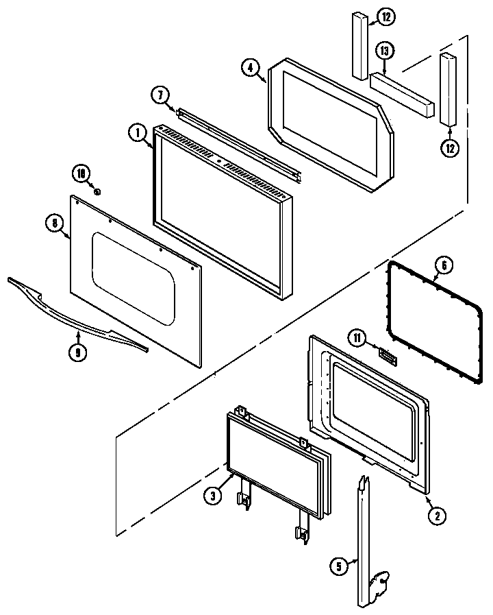
Door Parts diagram
WM30460W Electric Wall Oven Door Parts diagram
Microwave Parts diagram
WM30460W Electric Wall Oven Microwave Parts diagram
Microwave trim kit Parts diagram
WM30460W Electric Wall Oven Microwave trim kit Parts diagram
Microwave trim & mounting (ser. 15) Parts diagram
WM30460W Electric Wall Oven Microwave trim & mounting (ser. 15) Parts diagram

Recent Service Requests

CityProblem DescriptionResolution
Lake Oswego, OregonLCD display slowly faded into darkness over several weeks. Now the display is completely dark, but the oven still heats.Repaired
Venice, Floridablank displayReplaced with reconditioned timer
Crown Point, IndianaDisplay is blankReplaced with reconditioned timer

Common problems for Jenn-Air Electric Wall Oven WM30460W Timer Repair

Are you encountering a similar problem as them? Contact us now and we will try to help you fix your WM30460W timer-related problem.
My LG washer is showing an IE error code. The cycle will start as normal but when it gets down to either 32 or 34 minutes, the clock stops advancing and so the unit shuts down and displays this code. I am not sure if it is the PCB assembly or the main circuit board that needs to be replaced. Multiple attempts top reset the unit with the plug pulled and the on button depressed have not cleared the issue/fault. Any suggestions or experience with this would be greatly appreciated.
I have a Jenn-Air wall oven (wm27260w). For some reason, the clock keeps blinking. If I reset the time, it works for a short while and then starts blinking again... When I try to cook something, it seems to work fine (display looks normal), but it gets way too hot and burns whatever food you put in it. It's as if the broiler always comes on "high"... I would like to get parts to fix this - any idea what it could be?
I have a Jenn-Air WM30460W wall oven, which we bought with a new house in 1998. The oven light works, but the display and the oven controls do not. The display looks like it is all 8's, but there is no illumination (I think that is because there is no power to the display and what I am seeing is simply the window through which the numbers appear.) When I turn the power off at the circuit breaker, the display looks the same. When the power is on I also get a beep for some buttons: the cancel, the clock, and the numbers, but nothing for any of the oven-regulating buttons. I think I've used the oven since the earthquake, but I'm not sure.
my jenn air wall oven wont heat it is model #wm30460w. I was online reading about some problems and thought it was a heat sensor. I just installed a replacement and the oven still doesn't work. Any Suggestions?
The oven light pad display has grown extremely dim. What repair is required? I have a Model WM30460W oven unit. Serial # XXXXX If replacement of the control panel is necessary, are parts available and how is this accomplished?