Kenmore Electric Range 9119369181 Timer Repair

What is the timer/clock part number for the Kenmore 9119369181 Electric Range?

Timer part number 345445 for Kenmore 9119369181

The 9119369181 Electric Range uses timer part number 345445.

Do you have a failed Kenmore 9119369181 control panel? Click here:

Request Appliance Timer Service

We can repair or replace your faulty Kenmore 9119369181 timer.

9119369181 are also sometimes referred to using these Alternative Names/Model numbers

Sears 9119369181 Electric Range

9119369181 Schematic and Wiring Diagrams

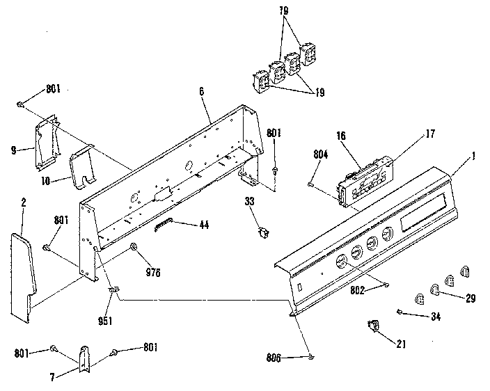
Backguard section Parts diagram
9119369181 Electric Range Backguard section Parts diagram
Door lock section Parts diagram
9119369181 Electric Range Door lock section Parts diagram
Main top section Parts diagram
9119369181 Electric Range Main top section Parts diagram
Body section Parts diagram
9119369181 Electric Range Body section Parts diagram
Oven door section Parts diagram
9119369181 Electric Range Oven door section Parts diagram
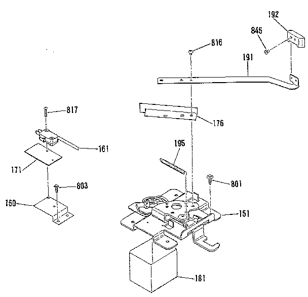
Wire harnesses and components Parts diagram
9119369181 Electric Range Wire harnesses and components Parts diagram

Recent Service Requests

CityProblem DescriptionResolution
Waynesboro, PennsylvaniaAbout 10 years ago, LED display (both time and temp.) became very dim and hard to read. Just a few days ago, oven and broiler will not heat. Display shows them to be on, but no heat on either. All other functions work well. After disconnecting and reconnecting wires to control board, display is now a little brighter, but oven and broiler still do not heat.Repaired