Kenmore Electric Built-In Oven 9114742990 Timer Repair

9114742990 are also sometimes referred to using these Alternative Names/Model numbers

Sears 9114742990 Electric Built-In Oven

9114742990 Schematic and Wiring Diagrams

Control panel section Parts diagram
9114742990 Electric Built-In Oven Control panel section Parts diagram
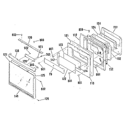
Door lock section Parts diagram
9114742990 Electric Built-In Oven Door lock section Parts diagram
Door section Parts diagram
9114742990 Electric Built-In Oven Door section Parts diagram
Body section Parts diagram
9114742990 Electric Built-In Oven Body section Parts diagram
Wire harnesses Parts diagram
9114742990 Electric Built-In Oven Wire harnesses Parts diagram

Recent Service Requests

CityProblem DescriptionResolution
Gallatin, TennesseeUpper element will not heat. Replaced the element and tested temp sensor. Temp sensor tests OK.Repaired
Gallatin, TennesseeUpper element will not heat. Replaced the element and checked the temp sensor.....both good.Repaired
Manassas, VirginiaTimer beeps continuously. Will shut off by pushing the oven
off button but it will start beeping again in a couple of minutes.
Also oven would not heat up unless one would hold in the bake
button for several seconds.
Repaired
Manassas, VirginiaTimer beeps continuously. Will shut off by pushing the oven
off button but it will start beeping again in a couple of minutes.
Also oven would not heat up unless one would hold in the bake
button for several seconds.
Repaired
Visalia, CaliforniaOven beeps loudly and flashes f-i error code, will not stopBeyond Repair

Common problems for Kenmore Electric Built-In Oven 9114742990 Timer Repair

Are you encountering a similar problem as them? Contact us now and we will try to help you fix your 9114742990 timer-related problem.
Kenmore Error Code F2 We received an error code F3 on our oven. We replaced the Temperature Sensor. Now we are getting error code F2. Any suggestions. Model number 9114742990