Kenmore Electric Range 9114698812 Timer Repair

What is the timer/clock part number for the Kenmore 9114698812 Electric Range?

Timer part number WB19X265 for Kenmore 9114698812

The 9114698812 Electric Range uses timer part number WB19X265.

Do you have a failed Kenmore 9114698812 control panel? Click here:

Request Appliance Timer Service

We can repair or replace your faulty Kenmore 9114698812 timer.

9114698812 are also sometimes referred to using these Alternative Names/Model numbers

Sears 9114698812 Electric Range

9114698812 Schematic and Wiring Diagrams

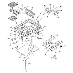
Main top section Parts diagram
9114698812 Electric Range Main top section Parts diagram
Oven body section Parts diagram
9114698812 Electric Range Oven body section Parts diagram
Blower section Parts diagram
9114698812 Electric Range Blower section Parts diagram
Door lock section Parts diagram
9114698812 Electric Range Door lock section Parts diagram
Oven door section Parts diagram
9114698812 Electric Range Oven door section Parts diagram
Wire harnesses and components Parts diagram
9114698812 Electric Range Wire harnesses and components Parts diagram
Backsplash 8058690 Parts diagram
9114698812 Electric Range Backsplash 8058690 Parts diagram
Vertical trim extension 8078690 Parts diagram
9114698812 Electric Range Vertical trim extension 8078690 Parts diagram
Griddle kit 4998550 Parts diagram
9114698812 Electric Range Griddle kit 4998550 Parts diagram
Griddle/grill cover module kit 4998510 Parts diagram
9114698812 Electric Range Griddle/grill cover module kit 4998510 Parts diagram
Electric hob element module kit 4998530 & 4998630 Parts diagram
9114698812 Electric Range Electric hob element module kit 4998530 & 4998630 Parts diagram
Electric grill module kit 4998640 Parts diagram
9114698812 Electric Range Electric grill module kit 4998640 Parts diagram
Electric coil module kit 4998520 & 4998620 Parts diagram
9114698812 Electric Range Electric coil module kit 4998520 & 4998620 Parts diagram