Kenmore Slide-In Range 911465219 Timer Repair

What is the timer/clock part number for the Kenmore 911465219 Slide-In Range?

Timer part number WB27K5073 for Kenmore 911465219

The 911465219 Slide-In Range uses timer part number WB27K5073.

Do you have a failed Kenmore 911465219 control panel? Click here:

Request Appliance Timer Service

We can repair or replace your faulty Kenmore 911465219 timer.

911465219 are also sometimes referred to using these Alternative Names/Model numbers

Sears 911465219 Slide-In Range, 9114652190, 9114652192, 9114652191

911465219 Schematic and Wiring Diagrams

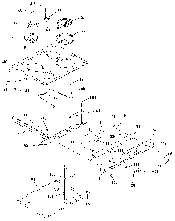
Main top section Parts diagram
911465219 Slide-In Range Main top section Parts diagram
Optional backsplash 8059091 Parts diagram
911465219 Slide-In Range Optional backsplash 8059091 Parts diagram
Body section Parts diagram
911465219 Slide-In Range Body section Parts diagram
Wire harness and components Parts diagram
911465219 Slide-In Range Wire harness and components Parts diagram
Door lock section Parts diagram
911465219 Slide-In Range Door lock section Parts diagram
Optional rear main top filler 8028790 Parts diagram
911465219 Slide-In Range Optional rear main top filler 8028790 Parts diagram
Blower section Parts diagram
911465219 Slide-In Range Blower section Parts diagram
Optional vertical trim extension 8078690 Parts diagram
911465219 Slide-In Range Optional vertical trim extension 8078690 Parts diagram
Oven door section Parts diagram
911465219 Slide-In Range Oven door section Parts diagram

Recent Service Requests

CityProblem DescriptionResolution
Chapin, South CarolinaF-1....beep beep beepRepaired
Burlington, WisconsinWill not operate oven , timer and other functions seem fineRepaired