Kenmore Gas Range 9113672991 Timer Repair

What is the timer/clock part number for the Kenmore 9113672991 Gas Range?

Timer part number WB27K5038 for Kenmore 9113672991

The 9113672991 Gas Range uses timer part number WB27K5038.

Do you have a failed Kenmore 9113672991 control panel? Click here:

Request Appliance Timer Service

We can repair or replace your faulty Kenmore 9113672991 timer.

9113672991 are also sometimes referred to using these Alternative Names/Model numbers

Sears 9113672991 Gas Range

9113672991 Schematic and Wiring Diagrams

Main top section Parts diagram
9113672991 Gas Range Main top section Parts diagram
Main top filler 8028890 Parts diagram
9113672991 Gas Range Main top filler 8028890 Parts diagram
Door lock section Parts diagram
9113672991 Gas Range Door lock section Parts diagram
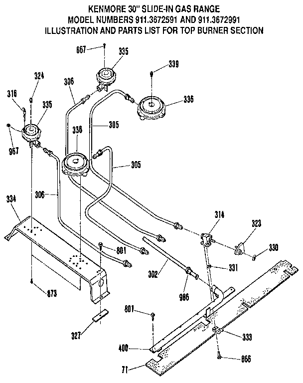
Top burner section Parts diagram
9113672991 Gas Range Top burner section Parts diagram
Broiler and oven burner section Parts diagram
9113672991 Gas Range Broiler and oven burner section Parts diagram
Backguard section Parts diagram
9113672991 Gas Range Backguard section Parts diagram
Optional vertical trim extension 8078690 Parts diagram
9113672991 Gas Range Optional vertical trim extension 8078690 Parts diagram
Body section Parts diagram
9113672991 Gas Range Body section Parts diagram
Wire harness and components Parts diagram
9113672991 Gas Range Wire harness and components Parts diagram
Oven door section Parts diagram
9113672991 Gas Range Oven door section Parts diagram