Jenn-Air 88370 Timer Repair

88370 are also sometimes referred to using these Alternative Names/Model numbers

Maytag 88370 Range, Whirlpool 88370 Range

88370 Schematic and Wiring Diagrams

Basic body Parts diagram
88370 Range Basic body Parts diagram
Oven Parts diagram
88370 Range Oven Parts diagram
Blower assembly/plenum Parts diagram
88370 Range Blower assembly/plenum Parts diagram
Top assembly Parts diagram
88370 Range Top assembly Parts diagram
Control panel Parts diagram
88370 Range Control panel Parts diagram
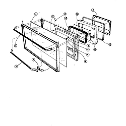
Oven door-see thru black glass Parts diagram
88370 Range Oven door-see thru black glass Parts diagram

Recent Service Requests

CityProblem DescriptionResolution
Hamilton, OhioI sent you this timer to be repaired a few months ago. I don’t know if it works because I replaced the metal panel that was supposed to go to my stove and the hole that the clock goes in was a tiny bit too small. My contractor tried to make it fit forgetting that it was not the original panel and thinks he broke my clock. Please see if it still works. If not and you don’t have another clock, please return it. I have to put something in the hole.Beyond Repair
Hamilton, OhioClock stopped. Oven timer not working.Repaired
Lower Burrell, Pennsylvaniaclock quit working you repaired before work for years12-12-2012
willing to purchase new timer if available. whatever is economical or practical
Awaiting receipt of timer
Shreveport, LouisianaMechanical timer clock does not functionAwaiting receipt of timer
Longueuil, QuebecDoesn't work at allBeyond Repair
east lansing, Michiganmodule failure. this is an older model.Awaiting receipt of timer
Cottage Grove, WisconsinThe clock looses time and the one minute wheel doesnt rotate into proper position. it goes just short of full viewAwaiting receipt of timer
Livonia, Michiganeverything works but clock makes a noise, chime bell sound is
dull and weak
Repaired
Branson, MissouriThe unit was diagnosed with burn unit out on mechanical timer part.Repaired
Jonesboro, IllinoisThe clock does not work and the number need replaced the white paint is comming off the numbers and the glass needs cleaned.Repaired
Glencoe, Minnesotaclock motor not operatingRepaired
Springfield,, MississippiClock just stopped, not sure if motor or binding gear.
made no noises like worn gear
Repaired
liverpool, New Yorkclock stopped. clock assembly was replaced about 15 years ago with jenn-air timer, which is now no longer available.Repaired

Common problems for Jenn-Air 88370 Timer Repair

Are you encountering a similar problem as them? Contact us now and we will try to help you fix your 88370 timer-related problem.
Craftsman 26" Snowblower : Front auger (?) (the blades are attached to it) does not turn when engaged. Can be made to turn by pulling manually on the blades. Any ideas ? Thank you AY
how do I clean a clogged drain line on my Jenn-air 88370 grill
I have an older electric Jenn-air model number 88370, it also has a down air draft for the barbecue grill. My problem is that on the left pair of elements; the rear element switch correctly heats the rear element, but the front element switch turns both front and rear elements on. The right pair of elements and switches do just the opposite, though low or front element works correctly, it''s the high or rear element switch which simultaneously turns on both burners.
i have a jenn air down draft range model # XXXXX the exhaust fan vibrated for a while and now squeels loudly, what do i need to replace and how do i get to it? also the fan rocker switch feels hard to tyrn on and off how do i replace?
25 to 30 yr old jenn air oven oven model# XXXXX needed new thermostat. received one from parts select after talking with someone from just answer.( part# XXXXX) This part has 3 terminals instead of the 4 on my old part. Need someone to tell me how to put what color wires on which terminals.
I have a 20+ year old Jenn Air oven (model 88370) and am having problems with 3 of the 4 burners. On the righthand side, when I turn on the back burner, both come on. When I try to turn on the front burner, there is a flash, and the circuit gets tripped. On the lefthand side, only the front burner works. When I try to turn on the back burner, the light comes on, but the burner doesn't heat up. How do I determine whether I need to: (a) replace just the surface unit switches (3 of 4?)(all 4, to be safe?); or (b) the entire range cartridges (both sides)?
I have a 35 year old Jenn-Air oven Model 88370. I have been searching for a R oven door hinge PS545939 with no luck. If I could location an installation manual for this model I may be able to repair the hinge I have. If anyone could help it would be appreciated. Suzanne
JennAir 88370 Door Handle replacement Is there any similar part for this replacement (JennAir 88370 Door Handle)?This model has been discontinued.
Jenn-Air 88370 drop-in range, want to convert! I have an OLD Jenn-Air 88370 drop-in range, likely the range that was installed when home built... poor thing is falling apart, and the oven is too small to cook anything larger than a 9 lb turkey :) I have a new conventional electric range that I want to replace with, however the Jenn-Air is hardwired (no outlet-- wired straight into wall) and the new one (obviously) has a 220 plug. Any idea where to find a how-to on converting the hard wiring to a 220 3-prong outlet? Thanks!
Accel Cleaning Setting I need to know what the Accel Clean setting means on my pre-1980 Jenn Air Model 88370 oven. It came with the house and I have no manual to look things up. I am wondering if I have a self-cleaning oven or a continuous clean oven.
Hi, I am looking for wiring diagrams or schematics for a Jenn-air model 88370 which is +20 years old. I am experiencing problems with the oven, both top and bottom elements get hot---but the food is frequently cooked unevenly. Also the temperature of my cartridge elements is difficult to adjust with the control, it is only warm or too hot.......I am not sure if it is the control or the element, since both elements of the same cartridge acts the same. A schematics would help me troubleshoot .... regards Great forum !
Installing Jenn-Air 88370 Wejust got this whole unit with the convection oven and regular oven, 2 burner glass top, and barbque bricks and wire grill. We would like to install it and need the books that go with it. We were told that it is from 1986 and the model number is 88370. Any help for us? Thanks, Chuck and Penny
Oven and none of top elements will heat unless left front element is on and then everything seems to work okay. Also exhaust fan barely runs unless top front element is on and then it runs at normal speed. I don't have access to a wiring diagram. Anyone out there have any ideas?
Jenn-air oven model #88370 We need to replace the thermostat , can you tell us how? Thanks, Lee